找回密码
 立即注册
澳门威尼斯人
U8
U18
海燕招商
A
蓝盾
e世博
islot.
申博亚洲
澳门银河
B
腾博会
德信
C级广告商
吉祥坊
查看: 138|回复: 15

[彩票] 彩票运气不错的,保持盈利190多块钱

 火.. [复制链接]

72

主题

2766

回帖

617

金币

铜牌用户

积分
8267

老会员

发表于 2026-4-12 03:07 | 显示全部楼层 |阅读模式

马上注册,结交更多好友,享用更多功能,让你轻松玩转社区。

您需要 登录 才可以下载或查看,没有账号?立即注册

×
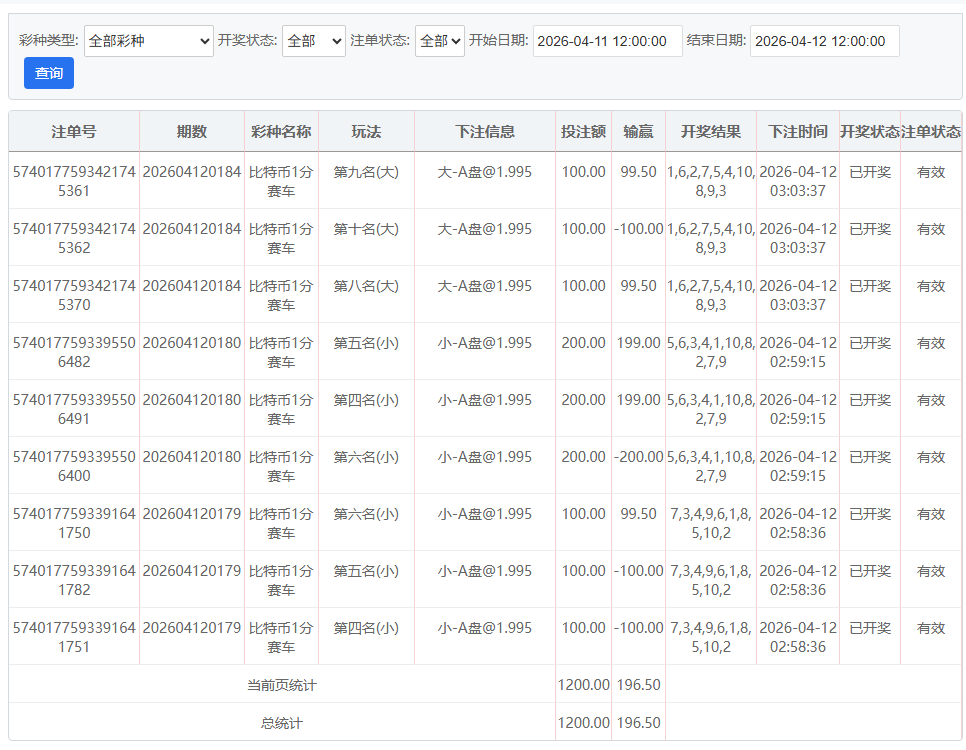
每天的策略坚持下来,收米算是有点进步;保持比特币彩票三定位两面玩法,获利还有机会的,。收190多块钱;' X) Z4 G7 W" D" [

4 Y5 E5 h6 Y! A- g3 }& ^+ v' o) |/ ?: E6 m- D5 G" f$ P" |
2.jpg
, D4 R1 S* i4 d6 G; ` 1.jpg + n; O7 E! m/ W  }

评分

参与人数 1金币 +6 收起 理由
海燕RG + 6 实战分享

查看全部评分

回复

使用道具 举报

8

主题

1万

回帖

3983

金币

千足金牌会员

积分
54898

老会员光影行者

发表于 2026-4-12 06:12 | 显示全部楼层
策略稳定确实能带来点甜头,190多块到手感觉还挺踏实,继续保持这节奏
回复 支持 反对

使用道具 举报

0

主题

3862

回帖

7562

金币

金牌会员

积分
26510
发表于 2026-4-12 06:13 | 显示全部楼层
坚持策略真没白下功夫,三定位两面玩法能稳收190多,这小进步挺实在,别飘继续保持节奏呀
回复 支持 反对

使用道具 举报

1214

主题

3万

回帖

963

金币

铂金用户

积分
94709

老会员交易勋章光影行者

发表于 2026-4-12 07:08 来自手机 | 显示全部楼层
最终这个成绩还是很不错的了,也是蛮开心的吧。
回复 支持 反对

使用道具 举报

1214

主题

3万

回帖

963

金币

铂金用户

积分
94709

老会员交易勋章光影行者

发表于 2026-4-12 07:09 来自手机 | 显示全部楼层
bai 发表于 2026-4-12 06:12
. ]. f( l8 n! A) n策略稳定确实能带来点甜头,190多块到手感觉还挺踏实,继续保持这节奏
$ R& h+ i3 l5 t1 i
有好的节奏还是保持着继续加油吧。
回复 支持 反对

使用道具 举报

1214

主题

3万

回帖

963

金币

铂金用户

积分
94709

老会员交易勋章光影行者

发表于 2026-4-12 07:09 来自手机 | 显示全部楼层
NO.2 发表于 2026-4-12 06:13
* F+ g2 u' y; X; U. M坚持策略真没白下功夫,三定位两面玩法能稳收190多,这小进步挺实在,别飘继续保持节奏呀 ...

: @' X9 q) F6 ^/ @& t3 ?有个好的方法的话,那就坚持使用下去了。
回复 支持 反对

使用道具 举报

52

主题

2万

回帖

1万

金币

铂金用户

积分
94425

老会员光影行者

发表于 2026-4-12 08:53 | 显示全部楼层
每天坚持自己的玩法,能稳定有收获确实挺踏实的,190多块也是不错的成果了
回复 支持 反对

使用道具 举报

52

主题

2万

回帖

1万

金币

铂金用户

积分
94425

老会员光影行者

发表于 2026-4-12 08:54 | 显示全部楼层
猴哥打野 发表于 2026-4-12 07:08
7 w+ j+ @+ j8 B" v  w. i# |8 I最终这个成绩还是很不错的了,也是蛮开心的吧。

) L0 B: c! l2 [2 G盈利快两百块确实值得开心,这成绩能保持住就更好了
回复 支持 反对

使用道具 举报

5

主题

7061

回帖

7352

金币

金牌会员

积分
35699
发表于 2026-4-12 09:21 | 显示全部楼层
可以保持盈利的结果还是非常漂亮的了
回复 支持 反对

使用道具 举报

5

主题

7061

回帖

7352

金币

金牌会员

积分
35699
发表于 2026-4-12 09:21 | 显示全部楼层
whywhy 发表于 2026-4-12 08:537 h5 F0 T6 a2 [, f0 p: g1 L
每天坚持自己的玩法,能稳定有收获确实挺踏实的,190多块也是不错的成果了 ...
. a, w( G: f, g/ x( H2 r
希望是可以能够每天都坚持这样的玩法的了
回复 支持 反对

使用道具 举报

5

主题

7061

回帖

7352

金币

金牌会员

积分
35699
发表于 2026-4-12 09:21 | 显示全部楼层
whywhy 发表于 2026-4-12 08:549 u* B# n! m" W0 Q9 q
盈利快两百块确实值得开心,这成绩能保持住就更好了
0 z1 n+ N& o( a5 \+ D5 ]
楼主盈利了这么多钱,肯定也是会非常开心的事情了
回复 支持 反对

使用道具 举报

8

主题

5415

回帖

8189

金币

金牌会员

积分
32498
发表于 2026-4-12 13:29 | 显示全部楼层
可以有这么多的盈利也是会非常高兴的了
回复 支持 反对

使用道具 举报

8

主题

5415

回帖

8189

金币

金牌会员

积分
32498
发表于 2026-4-12 13:30 | 显示全部楼层
山区奥特曼 发表于 2026-4-12 09:21" Q$ {' Z0 f7 X1 G8 w7 D6 b5 a
希望是可以能够每天都坚持这样的玩法的了
4 _" \) O+ ?- _/ @4 B/ ~
相信是可以能够每天都会这样的赚钱吧
回复 支持 反对

使用道具 举报

8

主题

5415

回帖

8189

金币

金牌会员

积分
32498
发表于 2026-4-12 13:30 | 显示全部楼层
山区奥特曼 发表于 2026-4-12 09:21. ~' [# V2 `5 e- W% c3 N/ p
楼主盈利了这么多钱,肯定也是会非常开心的事情了
  t) j1 i* ], A+ X& b
相信是会非常让人开心的事情了
回复 支持 反对

使用道具 举报

42

主题

432

回帖

2631

金币

铜牌用户

积分
6810
发表于 2026-4-12 15:32 | 显示全部楼层
真是非常给力的节奏,把握好策略,赢钱机会很大的
回复 支持 反对

使用道具 举报

您需要登录后才可以回帖 登录 | 立即注册

本版积分规则

广告合作|福利汇|论坛简介|钱包教程|手机版|小黑屋|Archiver|海燕论坛

快速回复 返回顶部 返回列表